产品概述:
GC型锅炉给水泵系单吸多级分段式离心泵,供输送清水及物理化学性质类似于水的液体之用。本型水泵扬程在46m~576m时,流量为6m~55m3/h,液体的最高温度低于110℃。适合于锅炉给水,工厂及城市给水之用。水泵配用Y型电动机
用途:适合于锅炉给水,矿山排水、工厂及城市给水
结构特点:GC型水泵是卧式、单吸多级、分段式离心泵
介质温度:≤105℃
处理介质:清水及物理化学性质类似水的液体
驱动方式:电动机驱动
流量范围:6mз/h -55mз/h
扬程范围:46m-430m
1.5 ——吸水口直径(毫米)被25除得值并化整
G ——锅炉给水泵
C ——表示泵的种类
J ——机械密封式
5 ——缩小为 1/10 泵的比转数。即泵的比转数为 50
6 ——叶轮的数量

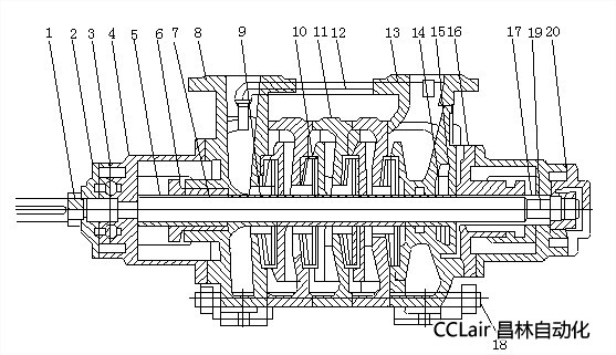
| 1、轴套螺母 | 1 、 Sleeve nut | 2 、轴承盖 | 2 、 Bearing Cover |
| 3, 轴承 | 3 、 Bearing | 4 、轴承体 | 4 、 Bearing body |
| 5 、轴套 | 5 、 Sleeve | 6 、填料压盖 | 6 、 packing gland |
| 7 、机械密封 | 7 、 Sealing machine | 8 、进水段 | 8 、 Suction casing |
| 9 、密封环 | 9 、 Wearing ring | 10 、叶轮 | 10 、 Impeller |
| 11 、中段 |
11 、 Midsegment |
12 、回水管 | 12 、 Balance pipe |
| 13 、出水段 | 13 、 Discharge casing | 14 、平衡环 | 14 、 Balancing ring |
| 15 、平衡盘 | 15 、 Balancing disk | 16 、尾盖 | 16 、 End cover |
| 17 、轴套 | 17 、 Sleeve | 18 、拉紧螺栓 | 18 、 Tightening |
| 19 、轴 | 19 、 Pump shaft | 20 、圆螺母 | 20 、 Round nut |
结构说明
泵的进出口方向均垂直向上,为根据所需扬程选用不同级数。
泵的定子部分由进水段、中段、出水段、尾盖和轴承体等零件组成。
泵的转子部分由轴、叶轮、轴套和平衡盘等零件组成,两端支撑在滚珠轴承上。
泵的进水段、中段、出水段静止结合面采用纸垫通过紧螺栓的拉紧来达到密封。为防止水进入轴承、在轴套间装有“○”形密封圈。泵体两端轴封采用机械密封。
泵两端轴承体有环形冷却室。当被输送液体大于 80 ℃时,应通入冷水,对轴承进行冷却。
轴承内的钙基黄油润滑脂可通过油杯注入。
从进水段方向看,泵为顺时针转动。
性能参数:
|
型号
|
流量
(mз/h) |
扬程
(m) |
转速
(r/min) |
效率
(%) |
功率(KW)
|
|
|
轴功率
|
电机功率
|
|||||
|
1.5GC-5×2
|
6
|
46
|
2950
|
38
|
2
|
3
|
|
1.5GC-5×3
|
6
|
49
|
2950
|
38
|
3
|
4
|
|
1.5GC-5×4
|
6
|
92
|
2950
|
38
|
4
|
5.5
|
|
1.5GC-5×5
|
6
|
115
|
2950
|
38
|
5
|
7.5
|
|
1.5GC-5×6
|
6
|
138
|
2950
|
38
|
6
|
7.5
|
|
1.5GC-5×7
|
6
|
161
|
2950
|
38
|
7
|
7.5
|
|
1.5GC-5×8
|
6
|
184
|
2950
|
38
|
8
|
11
|
|
1.5GC-5×9
|
6
|
207
|
2950
|
38
|
9
|
11
|
|
2GC-5×2
|
10
|
64
|
2950
|
39.6
|
4.4
|
7.5
|
|
2GC-5×3
|
10
|
96
|
2950
|
39.6
|
6.6
|
11.0
|
|
2GC-5×4
|
10
|
128
|
2950
|
39.6
|
8.8
|
15.0
|
|
2GC-5×5
|
10
|
160
|
2950
|
39.6
|
11.0
|
15.0
|
|
2GC-5×6
|
10
|
192
|
2950
|
39.6
|
13.2
|
18.5
|
|
2GC-5×7
|
10
|
224
|
2950
|
39.6
|
15.4
|
22.0
|
|
2GC-5×8
|
10
|
256
|
2950
|
39.6
|
17.6
|
30.0
|
|
2GC-5×9
|
10
|
288
|
2950
|
39.6
|
19.8
|
7.5
|
|
2.5GC-6×2
|
15
|
62
|
2950
|
43.7
|
5.8
|
11.0
|
|
20
|
54
|
2950
|
47.4
|
6.2
|
11.0
|
|
|
2.5GC-6×3
|
15
|
93
|
2950
|
43.7
|
8.7
|
15.0
|
|
20
|
81
|
2950
|
47.4
|
9.3
|
15.0
|
|
|
2.5GC-6×4
|
15
|
124
|
2950
|
43.7
|
11.6
|
22.0
|
|
20
|
108
|
2950
|
47.4
|
12.4
|
22.0
|
|
|
2.5GC-6×5
|
15
|
155
|
2950
|
43.7
|
14.5
|
22.0
|
|
20
|
135
|
2950
|
47.4
|
15.5
|
22.0
|
|
|
2.5GC-6×6
|
15
|
186
|
2950
|
43.7
|
17.4
|
30.0
|
|
20
|
162
|
2950
|
47.4
|
18.6
|
30.0
|
|
|
2.5GC-6×7
|
15
|
217
|
2950
|
43.7
|
20.2
|
30.0
|
|
20
|
189
|
2950
|
47.4
|
21.7
|
30.0
|
|
|
2.5GC-6×8
|
15
|
248
|
2950
|
43.7
|
23.2
|
37.0
|
|
20
|
216
|
2950
|
47.4
|
24.8
|
37.0
|
|
|
2.5GC-6×9
|
15
|
279
|
2950
|
43.7
|
26.1
|
22
|
|
20
|
243
|
2950
|
47.4
|
27.9
|
22
|
|
|
4GC-8×2
|
30
|
86
|
2950
|
51
|
13.8
|
30
|
|
45
|
82
|
2950
|
60
|
16.8
|
30
|
|
|
55
|
76
|
2950
|
62.5
|
18.1
|
30
|
|
|
4GC-8×3
|
30
|
129
|
2950
|
51
|
20.7
|
37
|
|
45
|
123
|
2950
|
60
|
25.2
|
37
|
|
|
55
|
114
|
2950
|
62.5
|
27.2
|
37
|
|
|
4GC-8×4
|
30
|
172
|
2950
|
51
|
27.6
|
55
|
|
45
|
164
|
2950
|
60
|
27.6
|
55
|
|
|
55
|
152
|
2950
|
62.5
|
36.2
|
55
|
|
|
4GC-8×5
|
30
|
215
|
2950
|
51
|
34.5
|
55
|
|
45
|
205
|
2950
|
60
|
42.0
|
55
|
|
|
55
|
190
|
2950
|
62.5
|
45.3
|
55
|
|
|
4GC-8×6
|
30
|
258
|
2950
|
51
|
41.4
|
75
|
|
45
|
246
|
2950
|
60
|
50.4
|
75
|
|
|
55
|
228
|
2950
|
62.5
|
54.1
|
75
|
|
|
4GC-8×7
|
30
|
301
|
2950
|
51
|
48.2
|
75
|
|
45
|
287
|
2950
|
60
|
58.8
|
75
|
|
|
55
|
266
|
2950
|
62.5
|
63.4
|
75
|
|
|
4GC-8×8
|
30
|
344
|
2950
|
51
|
55.0
|
100
|
|
45
|
328
|
2950
|
60
|
67.0
|
100
|
|
|
55
|
304
|
2950
|
62.5
|
73.0
|
100
|
|
|
4GC-8×9
|
30
|
387
|
2950
|
51
|
62.0
|
100
|
|
45
|
369
|
2950
|
60
|
75.5
|
100
|
|
|
55
|
342
|
2950
|
62.5
|
82.0
|
100
|
|
|
4GC-8×10
|
30
|
430
|
2950
|
51
|
69.0
|
-
|
|
45
|
410
|
2950
|
60
|
84.0
|
-
|
|
|
55
|
380
|
2950
|
62.5
|
91.0
|
-
|
|


