ZQDF-1Y-15,ZQDF-1Y-20,ZQDF-1Y-25,ZQDF-1Y-32,ZQDF-1Y-40,ZQDF-1Y-50,ZQDF-2Y-80,ZQDF-2Y-100,蒸汽电磁阀
一、蒸汽电磁阀产品用途
ZQDF蒸汽电磁阀是工业过程自动化控制系统用的执行器,它在接受电控信号后能自动开启或关闭阀门,实现对管道中流体介质的通断或流量调节控制,从而对系统中的温度、流量、压力等参数进行自动调节或远程控制。
二、蒸汽电磁阀产品特点
耐腐:主要部件阀塞,阀体等采用不锈钢和铸钢制成,防腐性能良好。
耐热:电磁、密封部分全部采用特种耐高温电工材料和密封材料,并采用了有效的隔热措施。
耐磨:选材合理,阀塞与阀体间巧妙地利用流体的润滑作用,减少磨损。
耐冷凝:蒸汽管道的冷北水是影响蒸汽电磁阀动作的重要因素,本阀则不受冷凝水影响。
三、蒸汽电磁阀结构与原理
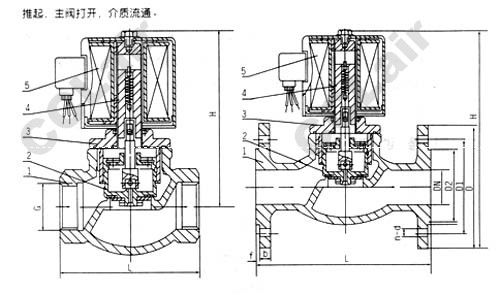
本阀为分步动作直接先导式电磁阀,可根据断电时所处开、关状态的不同,可分为常闭式电磁阀和常开式电磁阀。常闭电磁阀,线圈通电后,衔铁在电磁力作用下先带动副阀阀塞提起,主阀阀杯上的流体经副阀流走,减少了作用在主阀阀杯上的压力,当主阀阀杯上的压力减少到一定值时,衔铁带动主阀阀杯,并利用压差而使主阀阀杯启,介质流通。线圈断电后,电磁力消失,衔铁因自重下落复位。同时依靠介质压力,主副阀得以紧密关闭。常开电磁阀,线圈通电后由于吸力作用,动铁芯下移,把副阀阀塞压下,副阀关闭,主阀阀杯内压力上升,当压力升到一定值时,主阀阀杯的上下压差一样,由于电磁力作用,动铁芯失去主阀阀杯下,压紧主阀阀座,阀门关闭。线圈断电时,电磁吸力为零,副阀阀塞和支铁芯由于弹簧作用向上提起,副阀打开,主阀阀杯上的流体经副阀流走,减少了作用在主阀阀杯上的压力,当主阀阀杯上的压力减少到一定值时,利用压差把主阀阀杯推起,主阀打开,介质流通。
四、蒸汽电磁阀主要技术参数
|
型号
|
ZQDF-1
|
ZQDF-2
|
ZQDF-3
|
ZQDF-1Y
|
ZQDF-2Y
|
ZQDF-3Y
|
|
公称压力MPa
|
1.6
|
|||||
|
工作压差MPa
|
DN15~50
|
0~1.6
|
||||
|
DN65~100
|
0.05~1.6
|
|||||
|
介质种类
|
煤气、空气等
|
饱和蒸汽
|
过热蒸汽或高温气体
|
水油液体
|
热水、油
|
油
|
|
介质温度℃
|
≤60
|
≤180
|
≤220
|
≤60
|
≤180
|
≤220
|
|
电源电压
|
AC220V其余规格可作特殊订货
|
|||||
|
使用寿命
|
按JB/T7352-94规定
|
|||||
|
泄漏量m1/min
|
按JB/T7352-94·F规定
|
|||||
|
功耗
|
AC≤70VA DC≤60W
|
|||||
|
防爆标志
|
dIIBT4
|
|||||
|
出线口接头
|
内螺纹M20×1.5
|
|||||
|
环境温度
|
-40~+60℃
|
|||||
五、蒸汽电磁阀外形尺寸及连接形式表

六、蒸汽电磁阀安装须知
1、安装时电磁阀线圈向上,并保持垂直位置,电磁阀上箭头或标记应与管道流向一致,不得安装在有溅水或漏水的地方。
2、电磁阀的工作介质应清洁无颗粒杂质,电磁阀内件表面上的污物及过滤器,需定期清洁干净。
3、在电磁阀发生故障时,为了及时隔离电磁阀,并保证系统正常运行,最好安装旁路装置(如图一)。
4、在管路系统中,安装在支路上的电磁阀通径应小于主管道阀门的通径(如图二)。
5、安装电磁阀前,管道必须清洗干净。建议在阀前安装过滤器,蒸汽管道安装疏水阀。
6、不能将阀安装在管道的低凹处,以免因蒸汽冷凝水、杂质等沉淀在阀内而防碍动作。
7、普通型不能在爆炸危险场合使用。
8、在管路刚性不足情况下,建议把阀前管道用支架固定,以免电磁阀工作时引起振动。
9、在安装前,要注意看清产品标牌,认真阅读使用说明书,判断产品是否符合使用条件。
10、电磁阀前后管道上需安装压力表,以便观察管道压力。

ZQDF-1Y-65,ZQDF-1Y-80,ZQDF-1Y-100,ZQDF-2Y-15,ZQDF-2Y-20,ZQDF-2Y-25,ZQDF-2Y-32,ZQDF-2Y-40,ZQDF-2Y-50,ZQDF-2Y-65,


