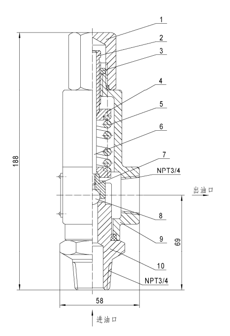
溢流阀明细

|
序号 |
名称 |
修理包 |
数量 |
订货号 |
备注 |
|
1 |
密封螺母 |
|
1 |
|
|
|
2 |
调压螺丝 |
|
1 |
|
|
|
3 |
O形密封圈 |
|
1 |
|
19*2.65 |
|
4 |
锁母 |
|
1 |
|
|
|
5 |
弹簧座 |
|
2 |
|
|
|
6 |
弹簧 |
|
1 |
|
|
|
7 |
阀杆 |
|
1 |
|
|
|
8 |
阀体 |
|
1 |
|
|
|
9 |
接头 |
|
1 |
|
|
|
10 |
球座 |
|
1 |
|
|
|
11 |
钢球 |
|
1 |
|
11 |
|
12 |
O形密封圈 |
|
1 |
|
26.5*3.55 |



